Руководства на все автомобили



1. Введение
2. Данные по идентификации автомобиля
3. Двигатели
4. Системы автомобиля
5. Меры предосторожности
5.0 Меры предосторожности
5.1 Порядок разгерметизации топливной системы
5.2 Механический топливный насос
5.3 Электрический топливный насос
5.4 Снятие и установка насоса, смонтированного в топливном баке
5.5 Регулировка карбюратора
5.6 Снятие и установка карбюратора
5.7. Системы впрыска топлива
5.8. Система питания дизелей
6. Механическая КПП
7. Передняя подвеска
8. Регулировка барабанных тормозов
9. Двери
10. Система подогрева и кондиционирования воздуха
11. Основные неисправности сцепления
12. Обозначения и сокращения


Ссылки на другие сайты
 

Автомобиль Isuzu Trooper (Исузу Трупер)



Все автомобили  »  Isuzu Trooper (Исузу Трупер) .

5.2 Механический топливный насос

5.3. Механический топливный насос

ОБЩИЕ СВЕДЕНИЯ

КАРБЮРАТОРНЫЕ ДВИГАТЕЛИ 4ZD1

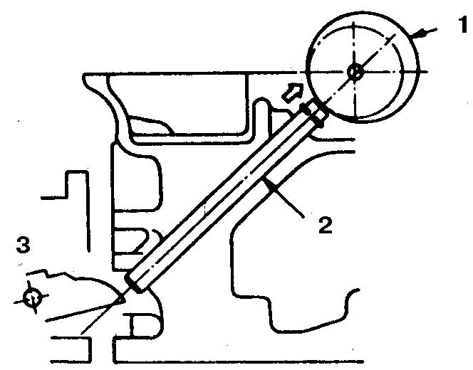
Топливный насос и штанга привода

1 – распределительный вал

2 – штанга привода

3 – рычаг насоса

Топливный насос смонтирован в правой части моторного отсека, прямо под всасывающим коллектором.

Снятие

ПОРЯДОК ВЫПОЛНЕНИЯ
1. Разгерметизируйте топливную систему.
2. Отсоедините батарею от массы.
3. Снимите воздушный фильтр.
4. Снимите всасывающий коллектор.
5. Отсоедините трубки бензопровода на топливном насосе и заглушите.
6. Отверните болты крепления топливного насоса и снимите насос.

Установка

ПОРЯДОК ВЫПОЛНЕНИЯ
1. Снимите крышку головки цилиндров.
2. Проверните коленчатый вал и установите поршень 4-го цилиндра в ВМТ такта сжатия.
3. Вытяните штангу привода топливного насоса в сторону распределительного вала и удерживайте.
4. Установите новую прокладку и насос, затяните болты крепления с моментом 20–34 Н.м.
5. Присоедините трубки бензопровода к топливному насосу.
6. Установите воздушный фильтр.
7. Соедините батарею с массой.
8. Запустите двигатель, убедитесь в отсутствии течи.

Проверка

ПОРЯДОК ВЫПОЛНЕНИЯ
1. Снимите топливный насос.
2. Проверьте состояние внешним осмотром. При обнаружении трещин, подтеканий и других признаков ненормального состояния насос замените.
3. Проверьте износ рычага привода насоса и кулачка распределительного вала.
4. Проверьте впускной клапан, для чего нажмите на рычаг и удерживайте в этом положении. Закройте пальцами выпускное отверстие насоса и отверстие обратного бензопровода, отпустите рычаг. При возвращении в исходное положение, свободный ход рычага должен увеличиться. В противном случае насос замените.
5. Проверьте выпускной клапан насоса. Для чего закройте пальцами впускное отверстие насоса. При закрытом отверстии рычаг перемещаться не должен. Больших усилий не прилагать.
6. Проверьте диафрагму насоса. Для чего закройте выпускное и впускное отверстия насоса и отверстие обратного бензопровода. При закрытых отверстиях рычаг перемещаться не должен. В противном случае насос замените.

Сайт создан в системе uCoz