Руководства на все автомобили



1. Введение
2. Данные по идентификации автомобиля
2.0 Данные по идентификации автомобиля
2.1 Общие данные двигателей
2.2. ТО автомобилей Trooper/ Bighorn с дизельным двигателем
2.3. Указания по уходу
2.3.1 Указания по уходу
2.3.2 Топливный фильтр (бензиновые двигатели)
2.3.3 Топливный фильтр (дизельные двигатели)
2.3.4 Сливание воды, накопившейся в топливной системе дизельного двигателя
2.3.5. Принудительная система вентиляции картера (PCV-система)
2.3.6 Бачок для улавливания паров бензина
2.3.7 Особенности проверки системы улавливания паров
2.3.8 Аккумуляторная батарея
2.3.9. Ремни привода
2.3.10 Стеклоочиститель
2.3.11. Рекомендуемые марки топлива и масла
2.3.12 Уход за механической КПП или автоматической трансмиссией
2.3.13 Проверка уровня масла или жидкости
2.3.14 Замена масла
2.3.15. Картер раздаточной коробки
2.3.16. Редуктор заднего моста
2.3.17. Охлаждающая жидкость
2.3.18. Главный тормозной цилиндр
2.3.20. Главный цилиндр гидропривода сцепления
2.3.21. Питательный бачок гидроусилителя руля
2.3.22 Редуктор рулевого механизма
2.3.23 Смазка ходовой части
2.3.24 Смазка механизма ручного тормоза
2.3.25 Смазка тяги привода дроссельной заслонки
2.3.26 Смазка рычага переключения передач
3. Двигатели
4. Системы автомобиля
5. Меры предосторожности
6. Механическая КПП
7. Передняя подвеска
8. Регулировка барабанных тормозов
9. Двери
10. Система подогрева и кондиционирования воздуха
11. Основные неисправности сцепления
12. Обозначения и сокращения


Ссылки на другие сайты
 

Автомобиль Isuzu Trooper (Исузу Трупер)



Все автомобили  »  Isuzu Trooper (Исузу Трупер) .

2.3.7 Особенности проверки системы улавливания паров

2.4.7. Особенности проверки системы улавливания паров

ОБЩИЕ СВЕДЕНИЯ

6-ЦИЛИНДРОВЫЕ ДВИГАТЕЛИ V6

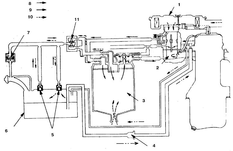
Система улавливания паров бензина на 4-цилиндровых бензиновых двигателях

1 – воздушный фильтр
2 – карбюратор
3 – бачок
4 – воздушный фильтр
5 – шариковый и поплавковый клапаны
6 – топливный бак
7 – редукционный клапан
8 – бензин
9 – пары бензина
10 – воздух
11 – контрольный клапан

Система улавливания паров бензина на 6-цилиндровых бензиновых двигателях

1 – камера дроссельной заслонки (TBI)
2 – бачок с поглотителем
3 – топливный бак
4 – ограничительное сопло
5 – трубка
6 – пробка горловины топливного бака
7 – шланг
8 – распределитель потока с термоприводом

ВЕНТИЛЯЦИОННЫЙ КЛАПАН

ПОРЯДОК ВЫПОЛНЕНИЯ
1. Присоедините отрезок шланга к нижней трубке клапана и продуйте. Воздух не должен проходить через клапан.
2. Создайте разрежение 15 мм. рт. ст., подсоединив ручной вакуумный насос к верхней (контрольной) трубке клапана. Диафрагма должна сохранять разрежение в течение не менее 20 сек, в противном случае бачок замените.

КОНТРОЛЬНЫЙ КЛАПАН ТОПЛИВНОГО БАКА

ПОРЯДОК ВЫПОЛНЕНИЯ
1. Создайте разрежение 15 мм. рт. ст., подсоединив ручной вакуумный насос к контрольной трубке. Диафрагма должна сохранять разрежение в течение не менее 20 сек, в противном случае диафрагма утратила герметичность и клапан подлежит замене.
2. Создайте разрежение на контрольной трубке. Присоедините отрезок шланга к трубке клапана топливного бака и продуйте. Если воздух не проходит, то клапан замените.

Сайт создан в системе uCoz